© Los autores, 2022. Publicado por la Revista de Innovación y Transferencia Productiva

ISSN: 2810-8027 (En línea)                                                                                                                                                                        

 

Volumen 3, Número 2

Julio-Diciembre | 2022

e008

https://doi.org/10.54353/ritp.v3i2.e008

 

 

ARTÍCULO ORIGINAL
 

 


Transformación de fibra de alpaca en hilo rústico, mediante el prototipado de máquinas familiares con la Fabricación Digital de la Industria 4.0

Transformation of alpaca fiber into rustic thread, through the prototyping of family machines with the Digital Manufacturing of Industry 4.0


José Mauricio Díaz Jurado 1a, Raúl Valdivia Saravia 1b, Carlos Alberto Aldahir Romaní Yerrén 1c* y Jhordan Berrocal Cueto 1d

1 Centro de Innovación Productiva y Transferencia Tecnológica Textil Camélidos Cusco (CITEtextil Cusco), Instituto Tecnológico de la Producción (ITP), Cusco, Perú.
a mdiazj@itp.gob.pe, brvaldivias@itp.gob.pe, ccromani@itp.gob.pe, djberrocal@itp.gob.pe
* Autor de correspondencia

| Recibido:  28/10/22 |

| Arbitrado por pares |

| Aceptado: 05/01/23 | 

 

 

 

 

 

 

Resumen

 

El hilo rustico es obtenido a partir de la fibra de alpaca en brosa mediante los procesos de escarmenado, lavado, cardado e hilado, dicha secuencia de procesos consiste en realizar la limpieza de la fibra, uniformizar y retorcer. La transformación de la fibra es realizada por los productores y transformadores primarios de fibra de alpaca utilizando instrumentos de madera prehispánico y en forma manual. En la actualidad, son muy pocos los productores de hilo rustico de fibra de alpaca, la mayoría de la fibra esquilada se vende en bruto a las grandes empresas de la región de Arequipa. La escasez de la tecnología de bajo costo les imposibilita a transformar su materia prima en hilo rustico con un mayor valor agregado. Por consiguiente, el objetivo de esta investigación fue obtener hilo rustico mediante las máquinas de transformación de fibra de alpaca de tamaño familiar, fabricadas mediante la manufactura digital de la industria 4.0. La construcción de las máquinas de transformación comprendió el diseño de una escarmenadora, una cardadora y una hiladora, siendo esta última la única que es alimentada por un panel solar. Los resultados demostraron que el trabajo en serie de las máquinas puede procesar hasta 5 kg de fibra de alpaca por día.

 

 

Palabras claves: Fibra de alpaca, transformación de fibra, escarmenadora, cardadora, hiladora, industria 4.0

 

 

Abstract

 

The rustic thread is obtained from the rough alpaca fiber through the processes of scraping, washing, carding and spinning, this sequence of processes consists of cleaning the fiber, standardizing and twisting. The transformation of the fiber is carried out by the producers and primary transformers of alpaca fiber using pre-Hispanic wooden instruments and manually. Currently, there are very few producers of rustic alpaca fiber yarn, most of the sheared fiber is sold raw to large companies in the Arequipa region. The scarcity of low-cost technology makes it impossible for them to transform their raw material into rustic yarn with greater added value. Therefore, the objective of this research was obtain rustic yarn through family-size alpaca fiber transformation machines, manufactured through the digital manufacturing of 4.0 technology. The construction of the transformation machines includes the design of a Scraper, a Carder and a Spinner, the latter being the only one that is powered by a solar panel. The results showed that the serial work of the machines can process up to 5 kg of alpaca fiber per day.

 

 

Keywords: Alpaca fiber, fiber transformation, wool Picker, carding machine, spinner, industry 4.0

 

 

 

 

 

Introducción

 

El 87% de la población mundial de alpacas se encuentra en Perú; por ello, existe un mercado competitivo para la industria textil. Actualmente, el sector alpaquero peruano es el proveedor de más de 4 500 toneladas de fibra de alpaca, materia prima importante para la industria. Sin embargo, los ingresos que perciben los productores son ínfimos y son categorizados en situación de extrema pobreza. En la región del Cusco son más de 20,000 familias y a nivel nacional más de 120,000 familias dedicadas a esta actividad, donde más del 90% de criadores tienen entre 40 y 120 alpacas, siendo su ingreso anual promedio de S/ 2200.

La gran mayoría de las familias criadoras de alpaca vende la fibra esquila en bruta y algunos de ellos se dedican a la elaboración de prendas artesanales por tradición, las cuales son ofertadas en ferias comunales y distritales, y en algunos casos son vendidas a turistas. Sin embargo, son muy pocos los productos que venden y de muy baja calidad, ya que no cuentan con máquinas familiares para poder obtener una mayor cantidad hilado y de mejor calidad.

Se realizó la revisión bibliográfica de los principales antecedentes en la construcción de máquinas con similar funcionamiento a los procesos de escarmenado, cardado y lavado. Respecto a ello, en el Perú, se ha prototipado una máquina escarmenadora en forma de péndulo, el funcionamiento es 100% manual, capacidad de producción 4,8kg/8 horas de trabajo, con un costo de S/ 6000 (Almanza Lurita, s. f.). También, se ha desarrollado una cardadora con un motor de ½ Hp, cuya producción es 1kg/h y el costo total es S/ 4074 (Quispe Alanoca & Quispe Alanoca, s. f.). En el mercado extranjero, la empresa Susan’s Fiber oferta una cardadora a $ 2 295 con funcionamiento completamente manual (Susan’s Fiber, s. f.). Finalmente, referente a la máquina hiladora, la empresa Ashford, especializada en desarrollo de tecnología basada en madera, desarrolló una hiladora que utiliza energía eléctrica con toma directa y baterías cuando no hay red eléctrica, el costo aproximado de dicho producto es $ 850 (Susan’s Fiber, s. f.).

En todos los casos presentados anteriormente se observa el elevado costo de las máquinas; además, de las condiciones de suministro de energía eléctrica que muchas familias alpaqueras no cuentan. Por lo tanto, para hacer frente a esta problemática expuesta la manufactura digital es una propuesta de solución, ya que se pretende abaratar los costos de las máquinas, siendo esta una herramienta de la industria 4.0 que ha abarcado la mayoría los sectores productivos de bienes y servicios, consiguiendo así una óptima producción en las cadenas de suministro (Lasi et al., 2014). En el presente trabajo de investigación se presenta la obtención de hilo rústico (hilado) mediante la aplicación de las tecnologías de industria 4.0 al prototipado de máquinas familiares de transformación de la fibra de alpaca (escarmenadora, cardadora e hiladora). En consecuencia, esto permitirá que las familias dedicadas al sector textil obtengan una alternativa menos costosa para mejorar el proceso de transformación y dar un valor agregado de calidad a los subproductos que se elaboran a partir de fibra de alpaca (hilo, fieltro, alfombras, otros).

 

Material y métodos

 

La metodología de la investigación de este artículo científico se basa en la bibliografía elegida para desarrollo de máquinas (Sánchez et al., 2021), el cual detalla la construcción de una máquina, los pasos a seguir se describen a continuación:

1.    Identificación de los procesos involucrados: Se describe el proceso en forma generalizada y luego los pasos que lo componen. Además, se identifican los procesos que realiza la máquina.

2.    Impacto económico y/o social y/o ambiental de la máquina: Se refiere al impacto de los métodos que puede traer en la construcción de una máquina.

3.    Construcción de la máquina: Se realiza un justificación técnica - económica de la construcción de la máquina, se caracteriza la máquina, se describe el funcionamiento del mismo y el proceso de manufactura de sus componentes.

4.    Partes de la máquina: Se muestra los principales componentes de la máquina, considerando el material y gráficas según corresponda.

5.    Diseño de la máquina: Se muestra un bosquejo de la máquina ensamblada (vista superior, lateral, frontal e isométrica) para explicar el concepto de solución integrado del sistema.

6.    Características disgregadas de la máquina: Se describe como los componentes se relacionan, para ello se disgrega el sistema y se explica el principio de funcionamiento.

 

Transformación de fibra de alpaca

En la cadena productiva de la transformación textil de ha identificado 6 eslabones (ver figura 1), en la presente investigación se abordará la “Transformación primaria”. En dicho eslabón, se identificaron los procesos de escarmenado, lavado, cardado e hilado (ver figura 2), a continuación, se detalla el flujo de materia (fibra de alpaca) entre los procesos:

-     Escarmenado: En este proceso la fibra de alpaca ingresa en bruto, es decir la fibra esquilada y clasifica aún se mantiene grasienta con suciedad. La finalidad de este proceso es limpiar y separar la fibra, de manera que se pueda separar los elementos extraños (tierra, piedras, etc.) de la fibra de alpaca.

-     Lavado: La entrada de este proceso es la fibra de alpaca separada y limpia en seco. El objetivo de esta etapa es limpiar la fibra completamente mojado, es decir lavándolo en unas tinas o pozas a una temperatura (40°C - 45°C) mayor a la ambiental.

-     Cardado: En este proceso ingresa fibra de alpaca seca y limpia (lavada y escarmenada). En esta etapa de transformación, se paraleliza la fibra, haciendo que esta quede uniformizada y obteniendo como producto las cintas cardadas.

-     Hilado: En esta etapa final de transformación, la entrada de materia es la cinta de fibras paralelas, se realiza la torsión y retorsión a fin de obtener el hilado artesanal.

 

Figura 1

Eslabones productivos en la cadena de transformación textil

 

Figura 2

Procesos en la transformación primaria

 

Productos artesanales y la industria 4.0

Los productos artesanales son fabricados por los productores y transformadores primarios de fibra de alpaca utilizando hilo rústico, en sus productos obtenidos buscan aprovechar los colores naturales y los teñidos naturales de la fibra de alpaca (Dibós & Garavito, 2017, pp. 45-49). En la actualidad, el impacto de adoptar nuevas tecnologías de la industria 4.0 en la elaboración de sus productos artesanales, tales como el hilo rústico y/o prendas, es crear procedimientos de desarrollo industrial a través de los nuevos medios o tecnologías industriales para que los productores y transformadores primario asimilen en su producción (Alexandre et al., 2017). Es decir, si se quiere que los productores y transformadores primarios adopten nuevas tecnologías, así como las máquinas de transformación de fibra de alpaca, se debe incluir en el diseño de las máquinas la cosmovisión andina de sus localidades.

Construcción de la máquina

Actualmente, en la macro región del Sur del Perú, para transformar la fibra de alpaca en hilo rustico se sigue utilizando tecnologías ancestrales tales como la p’ushka (Dibós & Garavito, 2017, p. 49). Existen equipos especializados de origen extranjero para la realizar dichos procesos de transformación primaria, sin embargo, el alto costo de adquisición y mantenimiento es un impedimento para la adquisición por los productores y transformadores primarios de fibra de alpaca. Por ello, en el presente trabajo de investigación se pretende abaratar los costos, además, incluir en el diseño de las máquinas la cosmovisión andina mediante la aplicación de la manufactura digital sustractiva de la industria 4.0.

Las máquinas construidas en el presente trabajo son la escarmenadora, cardadora e hiladora. El funcionamiento de la escarmenadora consiste en separar la fibra y la suciedad mediante un sistema mecánico de púas en un balancín y una estructura de soporte con púas en la base inferior. La máquina cardadora tiene la función de paralelizar la fibra de alpaca a través de un sistema mecánico de rodillos con púas dentadas. Finalmente, la máquina hiladora tiene la función de torcer y retorcer el hilo a dos o más cabos.

En el prototipado de las máquinas de transformación de fibra de alpaca, se consideró aplicar la manufactura digital sustractiva (industria 4.0), es decir los componentes de las máquinas primero serán modelados en 3D (modelo CAD) y luego serán llevados a una máquina para realizar cortes mediante un control numérico computarizado (CNC). En la figura 4, se muestra el proceso de manufactura empleado para las piezas de la cardadora. La aplicación de la manufactura digital sustractiva en planchas de madera prensada permite el óptimo uso del material y la eficacia en la fabricación.

 

 

 

 

 

Figura 3

Disposición de los componentes de la máquina para la manufactura


Figura 4

Proceso de la manufactura para la fabricación de las piezas de madera


Partes de las máquinas

En esta sección se presentan en las siguientes tablas las partes de las máquinas, agrupados en elementos estructurales, transmisión, sujeción/ unión y componentes comerciales.

Tabla 1

Partes de la escarmenadora

Tipo

Material/componente

Descripción

Cantidad

Estructural

Perfil rectangular ISO 657/14 (3000 mm)

80x40x3 / m

3

Perfil cuadrangular ISO 657/14 (1100 mm)

40x40x2.5 / m

2

Perfil cuadrangular ISO 657/14 (2317.94 mm)

20x20x2 / m

3

Perfil rectangular ISO 657-2 (600 mm)

30x20x3 / m

1

Perfil rectangular ISO 657/14 (300 mm)

50x25x2.5 / m

3

Taco de poliuretano perfil base

40mmx40mm

4

Transmisión

Rodamientos rígidos de bolas D20

SKF_6203-2Z

2

Elementos de sujeción/ unión

Arandela

JB/T 87-1994 1 10-25

2

Tuerca hexagonal

ISO 8673 - M14 x 1.5

4

Arandela

JB/T 87-1994 1 15-25

2

Tuerca hexagonal

ISO 4017 - M4 x 12

8

Tornillo hexagonal autorroscante

IFI 502 - 4.8x1.6 x 30, HFHTSTBM

2

Tornillo hexagonal

ISO 4017 - M4 x 40

16

Tuerca hexagonal

ISO 4032 - M4

16

 


Tabla 2

Partes de la cardadora

Tipo

Material/componente

Descripción

Cantidad

Estructural

Plancha de madera

2mx2mx20mm

1

Transmisión

Rueda (polea) 1

7' x 1A

1

Rueda (polea) 2

2 1/2 ' x 1A

3

Faja trapezoidal asíncrona

A45 / 13X114

1

Elementos de sujeción/ unión

Tornillo hexagonal ISO 4017

M14 x 100

2

Tuerca hexagonal ISO 4032

M14

2

Arandela plana ISO 7089

D14

4

Arandela plana ISO 7089

D10

8

Tornillo hexagonal ISO 4017

M10 x 50

4

Tuerca hexagonal ISO 4032

M10

4

Guarnición dentada 1

L 90m

1

Tornillo autorroscante ISO 7050

ST8 x 50 - C - H

4

Guarnición dentada 2

L 140m

1

Tornillo autorroscante ISO 7049

ST9.5 x 50 - C - H

4

 

Tabla 3

Partes de la hiladora

Tipo

Material/componente

Descripción

Cantidad

Estructural

Muelle de poliuretano D10 H30

40x40x2.9 /m

4

Plancha AISI 304

1000x1000x2

1

Perfil en L ISO 657-2 (3460 mm)

40x20x4 /m

4

Perfil rectangular ISO 10799-2 (2800 mm)

40x20x2 /m

3

Perfil cuadrangular ISO 657/14 (710 mm)

20x20x2 /m

1

Perfil cuadrangular ISO 657-1 (800 mm)

20x20x3 /m

1

Transmisión

Rodamiento de inserción D20

SKF UCP 204

2

Rodamiento Soporte de disco D20

SKF UCP 204

1

Elementos de sujeción/ unión

Arandela

ISO 7089 - 6

12

Arandela

ISO 7089 - 10

16

Tornillo Hexagonal

ISO 4017 - M6 x 55

6

Tornillo Hexagonal

ISO 4017 - M10 x 90

4

Tornillo Hexagonal

ISO 4017 - M10 x 35

4

Tuerca Hexagonal

ISO 4032 - M6

6

Tuerca Hexagonal

ISO 4032 - M10

8

Componentes comerciales

Servo motor

1/2 Hp

1

 

Diseño de las máquinas

En esta sección se presenta el diseño preliminar de las máquinas, se muestra que todos los componentes están integrados en un sistema.

 

 


Figura 5

Vista isométrica de la escarmenadora

Título: Insertando imagen...

 

Figura 6

Vista isométrica de la cardadora

Título: Insertando imagen...


Figura 7

Vista isométrica de la hiladora

Título: Insertando imagen...

Características disgregadas de las máquinas

 

Para cada máquina se presenta los principales componentes y como estos se relacionan entre sí.

 

-  Escarmenadora

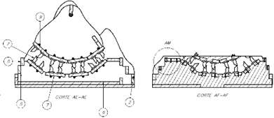
La presente máquina es una escarmenadora que comprende de una estructura de soporte lateral de madera (8) y se une a una base principal (1). Los elementos extraños a la fibra de alpaca se reciben en la tapa de desecho (6), la plataforma de la base (3) soporta a un ensamble de púas inferior mostrado en la figura 8. El elemento número (9), en el balancín superior, se une al soporte lateral de madera (8) mediante las uniones atornilladas tuerca (13), arandela (11) y tornillo (12) ver figura 10. Las demás uniones entre los elementos se muestran en los detalles AL y AM, se utilizan tornillos autoroscantes (10).

 

Figura 8

Partes de la escarmenadora superior

 

Figura 9

Partes de la escarmenadora sección

Figura 10

Detalle de las uniones atornilladas


En la figura 11 se muestra el detalle del ensamble inferior de púas (3), la parte b) de la figura 11 se muestra una vista isométrica general del ensamble, donde se observa que está conformado por 4 unidades del elemento parte a). Este elemento parte a) de la tiene dispuesta púas en un mismo sentido de manera que el ensamble de base inferior tenga todas las púas en un mismo sentido. Por el lado contrario, las púas del balancín parte superior tenga una disposición opuesta de púas (ver Figura 11). 


Figura 11

Detalle del ensamble inferior

-  Cardadora

En la figura 12, se presenta la máquina cardadora manual, este sistema está formado por los siguientes elementos principales: Un cilindro mayor (12) donde la fibra se enrolla y se obtiene la cinta cardada, un cilindro menor (20) que cumple la función de introducir fibra de alpaca al cilindro mayor (12). Una tapa lateral de soporte (1) que une paralelamente los cilindros (12) y (20) soportándose en el eje mayor (8) y menor (6) respectivamente. Los elementos que conforman el ensamble de manija que acciona los cilindros de para el cardado son manija (9), mano de agarre (11), eje de manija (18), y los elementos de sujeción (15), (16) y (17). En la figura 14, se muestra el detalle del sentido de los dientes de las guarniciones dentadas de los cilindros de cardado.

Los momentos de fuerzas de los discos de las poleas (4) y (3) son transmitidas mediante una faja síncrona que es traccionada manualmente mediante el ensamble de manija. La base unión (5) es el elemento que permite unir los soportes (1) de los cilindros, el elemento (5) soporta la plataforma de ingreso de fibra (7). 

 Los elementos (21), (17), (16), (15) y (3) son elementos de sujeción que proporcionan estabilidad a la cardadora. Siendo los que se muestran en los detalles de la figura 15. 

 

Figura 12

Vista isométrica de la cardadora

 

 

 

 

 

Figura 13

Detalle de la cardadora

Figura 14

Detalle de los dientes entre los cilindros

 

 

 

Figura 15

Detalle de sujeción de la cardadora

 

-  Hiladora

La presente máquina es conocida como la hiladora, en la figura 16 se muestra una vista isométrica. Una de las principales partes de la máquina es el soporte del eje hilador (3) (ver figura 17), este elemento soporta a los rodamientos de inserción (5). Dichos soportes del eje (3) están unidos a la tapa lateral (2) mediante las uniones atornilladas (26) que proporcionan estabilidad en el hilado.

El soporte del eje del hilador (3) contiene al eje principal (3) de transmisión de potencia que acciona el movimiento rotatorio del brazo hilador (7). Sobre dicho eje se encuentra la polea de tracción (8) que esta sincronizada con el motor (17). El motor (17) es controlado mediante un driver de potencia (15), las revoluciones del brazo hilador (7) se regula mediante una perilla que está conectado con el driver de potencia (15). En la figura 18, se muestra un conector de energía (16) para suministrar energía mediante el panel solar, también se muestra en switch de control (21) para activar el funcionamiento de la hiladora.

 

La cinta cardada pasa por el agujero de la polea de tracción (8), este se enrolla en el brazo hilador (7) y en el eje hueco de hilado (10). El ensamble de los discos de hilado (11) (12) y el eje hueco (10) es desmontable, a fin de obtener el cono hilado. Finalmente, toda la estructura de la hiladora se apoya en los soportes (25) y (20).

Figura 16

 

Vista isométrica de la hiladora

 

 

 

 

 

 

Figura 17

 

Detalle de los elementos de la hiladora

 

 

Figura 18

 

Detalle de los elementos de unión de la hiladora

 

Resultados

Producto de la transformación de la fibra de alpaca se obtienen diferentes tamaños de títulos que van desde la titulación 0 hasta el número 10, siendo este el máximo intervalo posible de titulación que se puede obtener mediante el uso de las máquinas de transformación de fibra construidas.

Función de las máquinas

Las máquinas de transformación de fibra de alpaca comprenden la escarmenadora, la cardadora y la hiladora, cada máquina fue diseñado en mayor medida usando madera prensada y la tecnología de manufactura digital sustractiva, el diseño optimo final de cada una de ellas se explica a continuación:

La escarmenadora cumple la función de limpiar la fibra de alpaca, la fibra grasienta ingresa por la parte lateral y manualmente se mueve el mecanismo para separar la fibra. En la parte inferior la máquina cuenta con una bandeja de salida de elementos extraños a la fibra y merma residual.

La cardadora cumple la función de uniformizar la fibra de alpaca, la fibra escarmenada se ingresa por la parte inferior y manualmente se mueve la manija hasta que la fibra quede enrollada en el tambor más grande. Luego, se separa la fibra enrollada para obtener la cinta cardada.

Finalmente, la hiladora tiene la función de torcer y retorcer la cinta cardada, se consideran los cabos necesarios en el retorcido a fin obtener el hilo rústico deseado. La cinta cardada ingresa manualmente a la hiladora y se gradúa la titulación y el torcido que se necesita considerar.

 

Figura 19

 

Escarmenadora

 

Figura 20

 

Cardadora

 

 

Figura 21

 

Hiladora

 

 

Características de las máquinas

El rendimiento promedio del proceso de transformación de fibra de alpaca es como se muestra en la tabla 4, para ello se consideró la operatividad de un artesano con experiencia en transformación de fibra de alpaca. En la tabla 4, se consideró el ingreso de 1kg de fibra de alpaca, los procesos de escarmenado y cardado son los que generan mayor merma residual en las máquinas, al final de los procesos se logró obtener como producto final hilo rústico 0.9 kg que representa el 90% de la fibra de alpaca ingresada.

 

Tabla 4

 

Merma de transformación de fibra de alpaca

Proceso

% Utilizado

% Merma

Escarmenado

97%

3%

Cardado

95%

5%

Hilado

98%

2%

Resultado
Fibra transformada

97%

3%

 

Las máquinas de transformación de fibra de alpaca prototipadas tienen diferentes capacidades de producción, es decir no existe un constante flujo de materia prima entre los procesos. Según los datos de la tabla 5, se muestra el número de máquinas necesarias para producir un promedio de 5kg de hilo artesanal por día en forma continua. Además, se calcula un índice de rendimiento en términos de costo necesario de todo el equipo y cantidad de fibra de alpaca transformada para toda la cadena de transformación, este valor obtenido a partir de la tabla 5 es 2.78 (soles/kg).

 

Tabla 5

Capacidad de producción de la línea de transformación de fibra de alpaca

Máquina / Características

Capacidad kg / 8 horas de trabajo

No de máquinas

Capacidad total (kg/día)

Costo unitario

Subtotal

Escarmenadora

5.0

1

5.0

S/ 1,200.00

S/ 1,200.00

Cardadora

2.9

2

5.8

S/ 2,000.00

S/ 4,000.00

Hiladora

0.95

5

4.7

S/ 1,800.00

S/ 9,000.00

Promedio capacidad de producción de hilo artesanal (kg / 8 horas de trabajo)

5.1

Costo total (s/.)

S/ 14,200.00

Costo de la transformación de la fibra de alpaca (soles/kg) en una jornada de 8 horas de trabajo

2.78 k

 

 

Discusión

En esta sección se realiza la comparación de las máquinas de transformación de fibra de alpaca para cada proceso (escarmenado, cardado e hilado) con otras alternativas; se considera que las máquinas sean similares o tengan el mismo principio de funcionamiento. En la tabla 6, se muestra una comparación de las capacidades de producción, el material de fabricación, el costo del producto, el suministro de energía y el rendimiento de transformación. Según la tabla 6, se observa que la escarmenadora de la propuesta de solución (opción 1) y la opción 2 tienen similares capacidades de producción, siendo estas las opciones menos costosas con respecto a la alternativa 3. Aunque la propuesta de solución 1 y la opción 2 estén fabricados en madera, el costo de la máquina de la opción 1 es más barata, debido a que esta fue fabricada utilizando la manufactura digital sustractiva (industria 4.0) en madera prensada. La opción 3 es una máquina escarmenadora con la mayor capacidad de producción entre las opciones. Sin embargo, sus características se alinean más a una producción semiindustrial, ya que dicha máquina necesita de suministro de energía eléctrica estándar.

 

Tabla 6

Cuadro comparativo de máquinas escarmenadoras

Característica \ Máquina

Propuesta de solución

(Almanza Lurita, s. f.)

(Sanchez Jimenez, 2021)

Opción 1

Opción 2

Opción 3

Capacidad (kg/ 8 horas de trabajo)

5

4.8

16

Material

Mayormente en madera prensada y púas metálicas

Mayormente en madera roble

Metal mecánico

Costo

S/ 1,200.00

S/ 6,000.00

S/ 20,143.00

Energía

100% mecánico (manual)

100% mecánico (manual)

Suministro eléctrico 220 v

Rendimiento (%)

97

96.9

95

 

En la tabla 7, se realiza la comparación de las máquinas cardadoras que tienen el mismo principio de funcionamiento, siendo la propuesta de solución la opción 1 que tiene las mejores características en cuanto a costo, respecto a las características de rendimiento y energía eléctrica la opción 1 y 2 son similares, entonces la alternativa 1 es la que mejor equilibrio técnico económico posee entre las alternativas de la tabla 7. La opción 3 y 4 son máquinas de mayor capacidad de producción y necesitan de suministro de energía eléctrica, estas alternativas de solución no serían las más óptimas para obtener hilo rustico.

 

Tabla 7

Cuadro comparativo de máquinas cardadoras

Característica

\ Máquina

Propuesta de solución

(Almanza Lurita, s. f.)

(Quispe Alanoca & Quispe Alanoca, s. f.)

(Susan’s Fiber, s. f.)

Opción 1

Opción 2

Opción 3

Opción 4

Capacidad (kg/ 8 horas de trabajo)

2.9

2.8

8

*

Material

Mayormente en madera prensada y púas metálicas

Madera roble y púas metálicas

ASTM A36 y SAE 1045

Mayormente en madera

Costo

S/ 2,000.00

S/ 6,000.00

S/ 4,074.00

S/ 9,199.00

Paños

20cm x 19cm

30 cm x 60cm

*

31cm x 35xm

Energía

100% mecánico (manual)

100% mecánico (manual)

Suministro eléctrico 220 v

Suministro eléctrico 110/220 v

Rendimiento (%)

95

93.8

95

*

 

En este último proceso de hilado, en la tabla 8, se realiza la comparación de las máquinas hiladoras, destacando la propuesta de solución la opción 1, debido a que tiene una mejor capacidad de producción y es económicamente rentable respecto a las demás alternativas. Respecto al suministro de energía eléctrica en las máquinas hiladoras, estas deben ser manuales o sustentadas por una fuente energética renovable, por consiguiente, la propuesta de solución opción 1 es la más apropiada.

 

Tabla 8

Cuadro comparativo de máquinas hiladoras.

Característica\Máquina

Propuesta de solución

Hiladora
(Almanza Lurita, s. f.)

(Susan’s Fiber, s. f.)

Capacidad (kg/ 8 horas de trabajo)

0.95

0.7

*

Material

Madera prensada y piezas impresas en ABS

Mayormente en madera roble

Mayormente en madera

Costo

S/ 1,800.00

S/ 6,500.00

S/ 4,832.25

Energía

Suministro eléctrico panel solar

Suministro eléctrico 110/220 v

Suministro eléctrico 110/220 v

Rendimiento (%)

98

99.1

*

 

 

En la tabla 9 y 10, se muestra una comparación entre las dos alternativas de solución que destacaron más la evaluación de características técnicas y económicas. Aun cuando dicha evaluación técnica económica entre las máquinas nos indicaba que alternativa de solución es la más viable, también, es necesario considerar el factor de recursos humanos ya que están serán usadas manualmente. Para efectos de la comparación de las dos propuestas (tabla 9 y 10) se calculó un Índice de Comparación (IC) en términos del costo de inversión del equipo por kg de fibra transformada.

 

Tabla 9

Cuadro de cálculo del Índice de Comparación (IC) de la propuesta de solucion1

Característica

Propuesta de solución de la presente investigación

Máquinas

Capacidad
(kg/ 8h)

No máquinas

Capacidad total (kg/ 8h)

Precio unitario

RRHH remuneración

RRHH
cantidad

Subtotal
(Máquinas + RRHH)

Escarmenadora

5

1

5.00

S/ 1,200.00

S/ 1,025.00

1

S/ 2,225.00

Cardadora

2.9

2

5.80

S/ 2,000.00

S/ 1,025.00

2

S/ 6,050.00

Hiladora

0.95

5

4.75

S/ 1,800.00

S/ 1,025.00

5

S/ 14,125.00

Capacidad promedio de producción (kg/ 8h)

5.18

Costo total de Maquinas + RRHH

S/ 22,400.00

Índice de Comparación (IC) en términos de costo y cantidad de fibra transformada (soles / kg)

4.3 k

 

Tabla 10

Cuadro de cálculo del Índice de Comparación (IC) de las máquinas de Almanza Lurita (s. f.)

Característica

(Almanza Lurita, s. f.)

Máquinas

Capacidad
(kg/ 8h)

No máquinas

Capacidad total (kg/ 8h)

Precio unitario

RRHH remuneración

RRHH
cantidad

Subtotal
(Máquinas + RRHH)

Escarmenadora

4.8

1

4.80

S/ 6,000.00

S/ 1,025.00

1

S/ 7,025.00

Cardadora

2.8

2

5.60

S/ 6,000.00

S/ 1,025.00

2

S/ 14,050.00

Hiladora

0.7

6

4.2

S/ 6,500.00

S/ 1,025.00

6

S/ 45,150.00

Capacidad promedio de producción (kg/ 8h)

4.87

Costo total de Máquinas + RRHH

S/ 66,225.00

Índice de Comparación (IC) en términos de costo y cantidad de fibra transformada (soles / kg)

13.5 k

 

De la tabla 9, se tiene que el valor del Índice de Comparación (IC) para la propuesta de solución 1 del presente proyecto de investigación es 4.3 k soles / kg fibra de alpaca transformada. Por otro lado, a partir de la tabla 10 se obtiene que el valor del Índice de Comparación (IC) es 13.5 k soles / kg fibra de alpaca transformada. Por lo tanto, comparando los índices (IC) entre las dos alternativas presentadas en la tabla 9 y 10 se observa que el índice de la propuesta 1 es la más viable considerando los recursos humanos y el costo del equipo. Finalmente, en trabajos futuros se espera que la línea de transformación de fibra de alpaca, en una producción de hilo rústico, sea continua en los procesos de escarmenado, cardado e hilado, es decir, la producción de los procesos debe ser automatizada.

 

Conclusiones

·         Las máquinas de transformación de fibra de alpaca construidas mediante la manufactura digital abaratan los costos de inversión de los equipos y aumentan la capacidad de producción de hilo rústico para los productores y transformadores primarios de la cadena de valor textil de camélidos. El costo total de inversión de las máquinas de transformación es 5 mil soles, este paquete de máquinas (una escarmenadora, una cardadora y una hiladora) representa una propuesta más económica en comparación de las actuales opciones ya existentes en el mercado.

·         La escarmenadora soluciona el problema del abatanado y la relativa contaminación del vellón de fibra de alpaca que surge por las carencias de las buenas prácticas de esquila y el nivel artesanal empleado; además, permite la separación de fibras, los que permite obtener un hilado de mejor calidad.

·         La cardadora soluciona el problema de la variación no deseada en la paralelización de la fibra de alpaca, es decir cumple la función de desenredar y uniformizar la fibra para convertirlo en una sola red. Además, soluciona las irregularidades formadas en el proceso de escarmenado.

·         La hiladora soluciona el problema del tiempo de hilado artesanal con p’ushka y las irregularidades formadas en el proceso de transformación de la fibra de alpaca de la cinta cardada al hilado rústico. Además, permite obtener hilados de diferentes títulos y uniformizado.

·         En el diseño definitivo final de las máquinas de transformación de fibra de alpaca se incluyó la cosmovisión andina de los lugares que proceden los productores y transformadores, según la forma del diseño obtenido la máquina escarmenadora representa Machupichu, la máquina cardadora representa el nevado de Ausangate y la máquina hiladora representa la laguna Piura y en Chinchero.

 

 

Agradecimientos e información de financiamiento

Agradecemos al CITE textil camélidos cuscos por prestar sus instalaciones para el desarrollo de las pruebas y al equipo de FabLab iFurniture por apoyo en el diseño y fabricación de los prototipos Vaneza Caycho Ñuflo y Luis Miguel Rodríguez.

Contribución de autoría

José Mauricio Díaz Jurado, coordinación, ejecución y desarrollo de la metodología del proyecto de investigación.

Raúl Valdivia Saravia, descripción de los procesos de transformación de fibra de alpaca.

Carlos Alberto Aldahir Romaní Yerrén, corrección y estado del arte

Jhordan Berrocal Cueto, análisis, corrección y redacción.

 

Conflictos de interés

No existen conflictos de intereses.

 

Referencias bibliográficas

Alexandre, B., Salguero, J., Peralta-Alvarez, M.-E., Aguayo-Gonzalez, F., & Ares, E. (2017). Aplicación de las tecnologías de la industria 4.0 al diseño y fabricación de productos artesanales. DYNA - Ingeniería e Industria, 92(4), 435–441. https://doi.org/10.6036/8169

Almanza Lurita, I. (2020). Desarrollo y aplicación de herramientas de Lean Manufacturing y de innovación para la mejora en el proceso de fabricación artesanal de hilo de fibra de alpaca en las comunidades alpaqueras del Perú [Tesis de Ingeniero, Universidad Nacional Mayor de San Marcos]. https://hdl.handle.net/20.500.12672/11705

Lasi, H., Fettke, P., Kemper, H. G., Feld, T., & Hoffmann, M. (2014). Industry 4.0. Business & information systems engineering, 6(4), 239-242. https://doi.org/10.1007/s12599-014-0334-4

Dibós, M. E. S. & Garavito, C. (2017). La memoria del tejido: arte textil e identidad cultural de las provincias de Canchis (Cusco) y Melgar (Puno). Soluciones Prácticas.

Quispe Alanoca, R. E. & Quispe Alanoca, J. D. (2019). Evaluación, diseño y construcción de una cardadora con motor de 1/2 hp para procesamiento de fibra de alpaca en la región Puno [Tesis de Ingeniero, Universidad Nacional Del Altiplano]. http://repositorio.unap.edu.pe/handle/UNAP/10952

Susan’s Fiber. (s. f.). NEW Ashford E-Carder 30. https://www.susansfiber.com/products/new-ashford-e-carder-30

Sánchez, E., Oviedo, N., Banda, L., Guerra, K., Burbano, N. & Godoy, D. (2021). Transformación de residuos textiles en fibras, mediante la construcción de una máquina desfibradora de tejidos textiles. Ecuadorian Science Journal, 5(3), 73-83. https://doi.org/10.46480/esj.5.3.145

Sanchez Jimenez, J. J. (2021). Propuesta de diseño de una máquina semi industrial de apertura para la etapa de preproducción para la obtención de hilo a partir de fibra de alpaca. [Tesis de Ingeniero, Universidad de Lima]. https://hdl.handle.net/20.500.12724/13813